Котлы «Геккон» можно использовать для утилизации отработанных ГСМ, при этом получать даровое тепло (1 литр отработанного масла, при сжигании в котлах «ГеККОН» выделяет энергию, эквивалентной 10кВт.*час.)
Газогенераторный принцип сжигания (патент № 29574 от 20.05.03), где тяжелые молекулы углеводородов, за счет пиролиза, разлогаются на газовые составляющие, которые в свою очередь сгорают синим пламенем. При этом выхлопные газы прозрачны, а на стенках котла и газохода не образуются сажистые отложения.
Уникальность ещё состоит в том, что в виде топлива, позволяет использовать практически все виды и типы углеводородов:
Сырую нефть, жидкие, кислые гудроны и нефтешламы, мазуты всех марок. Отработанные масла всех видов и типов, синтетические и менеральные, включая трансмиссионные, моторные, декстроны(ATF), трансформаторные и веретенные.
Тормозные и промывочные жидкости. А так же масла и жиры, растительного и животного происхождения. Д.Т., керосин и различные смеси вышеперечисленных жидкостей.
При этом, котлы «Геккон» обладают ещё рядом приимушеств по сравнению с аналогами:
- Высокий КПД за счет качественного сжигания, пламя сине-белое (см. видео), выходные газы прозрачны. Отсутствие сажистых отложений.
- Мизерная себестоимость теплоэнергии и быстрая окупаемость(1,5-2 месяца), с учетом установки и обслуживания, за счет бросового топлива.
- Небольшие габариты при высокой энергонасыщенности.
- Незначительное потребление электроэнергии (100Вт).
- Простота в обслуживании и ремонте.
- Надежность, отсутствие сложных узлов и агрегатов.
- Не требуется дополнительное оборудование: компрессоры, насосы, горелки, форсунки, подогреватели, фильтры, высокие дымоходы, и пр.



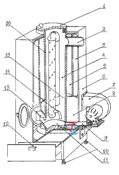
- Крышка, взрывной клапан.
- Газоход.
- Теплоизоляция.
- Камера дожига.
- Теплоноситель.
- Декоративная панель.
- Нагнетатель.
- Ресивер.
- Топливопровод.
- Регулируемые ножки.
- Испаритель.
- Ящик для шлака.
- Зольник.
- Вихревое устройство.
- Камера пиролиза.
- Жаровый корпус котла.
|
Артикул
|
11013911 |
|
Марка
|
Геккон |
|
Габаритные размеры, мм
|
360x560x830мм |
|
Вес
|
100кг |
|
Напряжение питания, В
|
220 В |
|
Вид
|
Жидкотопливный |
|
Мощность, кВт
|
15 |
|
Модель
|
Геккон-15 |
|
Обогреваемая площадь
|
150м² |
Для покупки товара в нашем интернет-магазине выберите понравившийся товар и добавьте его в корзину. Далее перейдите в Корзину и нажмите на «Оформить заказ» или «Быстрый заказ».
Когда оформляете быстрый заказ, напишите ФИО, телефон и e-mail. Вам перезвонит менеджер и уточнит условия заказа. По результатам разговора вам придет подтверждение оформления товара на почту или через СМС. Теперь останется только ждать доставки и радоваться новой покупке.
Оформление заказа в стандартном режиме выглядит следующим образом. Заполняете полностью форму по последовательным этапам: адрес, способ доставки, оплаты, данные о себе. Советуем в комментарии к заказу написать информацию, которая поможет курьеру вас найти. Нажмите кнопку «Оформить заказ».
Оплачивайте покупки удобным способом. В интернет-магазине доступно 3 варианта оплаты:
- Наличные при самовывозе или доставке курьером. Специалист свяжется с вами в день доставки, чтобы уточнить время и заранее подготовить сдачу с любой купюры. Вы подписываете товаросопроводительные документы, вносите денежные средства, получаете товар и чек.
- Безналичный расчет при самовывозе или оформлении в интернет-магазине: карты Visa и MasterCard. Чтобы оплатить покупку, система перенаправит вас на сервер системы ASSIST. Здесь нужно ввести номер карты, срок действия и имя держателя.
- Электронные системы при онлайн-заказе: PayPal, WebMoney и Яндекс.Деньги. Для совершения покупки система перенаправит вас на страницу платежного сервиса. Здесь необходимо заполнить форму по инструкции.
Экономьте время на получении заказа. В интернет-магазине доступно 4 варианта доставки:
- Курьерская доставка работает с 9.00 до 19.00. Когда товар поступит на склад, курьерская служба свяжется для уточнения деталей. Специалист предложит выбрать удобное время доставки и уточнит адрес. Осмотрите упаковку на целостность и соответствие указанной комплектации.
- Самовывоз из магазина. Список торговых точек для выбора появится в корзине. Когда заказ поступит на склад, вам придет уведомление. Для получения заказа обратитесь к сотруднику в кассовой зоне и назовите номер.
- Постамат. Когда заказ поступит на точку, на ваш телефон или e-mail придет уникальный код. Заказ нужно оплатить в терминале постамата. Срок хранения — 3 дня.
- Почтовая доставка через почту России. Когда заказ придет в отделение, на ваш адрес придет извещение о посылке. Перед оплатой вы можете оценить состояние коробки: вес, целостность. Вскрывать коробку самостоятельно вы можете только после оплаты заказа. Один заказ может содержать не больше 10 позиций и его стоимость не должна превышать 100 000 р.
Кроме того, что ТГК ТеплоТЭН является официальным дилером большинства производителей и поставщиков отопительного, теплового и насосного оборудования, есть ещё несколько особых предложений для наших клиентов:
- огромный склад запчастей в наличии для нашего оборудования.
- в наличии ТЭНы для водонагревателей и практически любого теплового оборудования.
- собственный сервисный центр для гарантийного и пост-гарантийного обслуживания и ремонта.
- дисконтно-бонусная система лояльности в приложении UDS, скидки до 10%.